[잉배랩 Issue 2] 상호간의 관계를 명확하게 표현하자: (upper, above ...)
[잉배랩 Issue 2] 상호간의 관계를 명확하게 표현하자: (upper, above ...)
인간 관계에서 뿐만이 아니라 발명을 구성하는 구성요소들 간에도 관계를 명확하게 해야 뒤탈이 없다. 예를 들어 보자.
“X가 Y의 상부에 마련된다”고 할 때, 영문은 아래 두 문장과 같이 표현될 수 있다.
(1) X is provided at an upper portion of Y.
(2) X is provided above Y. (≈ X is provided at an upper side of Y.)
위의 두 문장 모두가 가능하지만, 의미는 완전히 다르다.

첫 번째 문장은 X가 Y의 일부, 즉 X는 Y와 일체로 Y에 속하는 윗부분에 마련되는 경우에 적절한 표현이다.
추가 예:
(En) Three support members are provided at an upper portion of the table.
(Ko) 3개의 지지부재가 테이블 상부에 (일체로) 마련된다.
국문에서는 ‘일체로’라는 말이 통상 생략되므로, 도면을 보고 구성요소 간의 관계를 명확하게 파악해야 한다.
두 번째 문장은 X와 Y가 별개의 것으로서, X가 Y 상부에 있을 때 적절한 표현이다.
원어민이 생각하는 정의를 보면 두 문장의 차이를 이해하는데 도움될 수 있다.
- Upper (adj): located above sth else, especially sth of the same type or
the other of a pair. The upper floor (위층) - Above (Adv): at or to a higher place. The floor above (바닥 위)
마무리로, 실제 적용된 몇 가지 예들을 보면 “상부”와 관련한 구성요소들간의관계를 표현하는데 어려움이 없을 것이다.
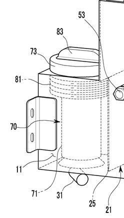
(Ko) 상기 이온 필터 어셈블리의 상부에는 손잡이부가 구비된다.
(En) A handle 83 is provided at an upper portion of the ion filter assembly 70.

(Ko) 유기 발광 표시 장치(1)의 상방에 어레이 테스트용 모듈레이터(2)를 위치시킨다.
(En) A modulator 2 for an array test is provided above the organic light
emitting diode (OLED) display 1.
emitting diode (OLED) display 1.

댓글
댓글 쓰기